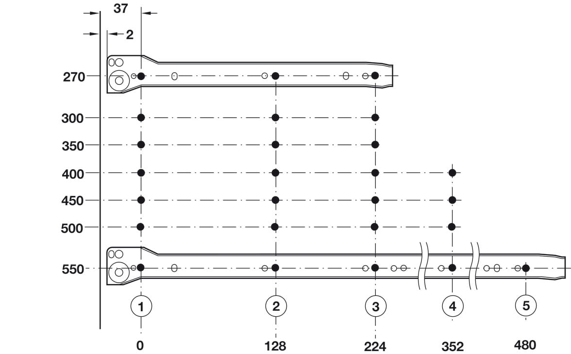
Metalbox h=86 L=400mm 25kg SZARY HÄFELE 555.97.040

Metalbox, wysuw częściowy.

Dostępność: duża ilość
Wysyłka w: 4-8 dni
Dostawa: Cena nie zawiera ewentualnych kosztów płatności sprawdź formy dostawy
Cena: 24,76 zł 24.76
ilość szt.

towar niedostępny

dodaj do przechowalni
Ocena: 0
Producent: HÄFELE
Kod produktu: 555.97.040
Opis

wysokość

86 mm

kolor

szary, RAL 9006

opakowanie

1 par

zastosowanie

do szuflad i wysuwek frontowych

udźwig

25 kg/parę

materiał

stal

powierzchnia

powlekana tworzywem sztucznym

wersja

z prowadnicą rolkową

rodzaj wysuwu

wysuw częściowy z samodomykaniem

możliwość regulacji

regulacja frontu w 2 płaszczyznach, przy pomocy mimośrodu
nachylenie frontu przy uchwycie relingu podłużnego

montaż

do przykręcania
 

Zakres dostawy

1 para boków szuflady

1 para szyn korpusowych

1 zestaw mocowań frontu

Koszty dostawy Cena nie zawiera ewentualnych kosztów płatności

Kraj wysyłki:
Opinie o produkcie (0)
do góry
Sklep jest w trybie podglądu
Pokaż pełną wersję strony
Sklep internetowy Shoper.pl